在线咨询
货运系统,司机用户软件,APP、小程序模板。
来源:云南明竹软件网 发布时间:2025-03-19 11:32 308次阅读
14787493787
买软件扫码添加,做您身边的软件服务管家

转载注意:转载请联系原作者获取授权,并注明出处。
添加:服务,给服务添加车型和车厢,以及收费金额
分为普通用户 师傅用户 和推广员用户;
推广员用户的一二级分佣不为0,可给推广员设置一二级佣金
给服务添加车厢 和车型,选择 服务后,只能选择该服务关联的车型和车厢
师傅添加的车辆,一个师傅只能添加一个车辆
师傅的认证列表,管理端可以进行审核和修改等;
删除师傅的实名制后,师傅的保证金会退回钱包,如需接单,师傅得再次认证
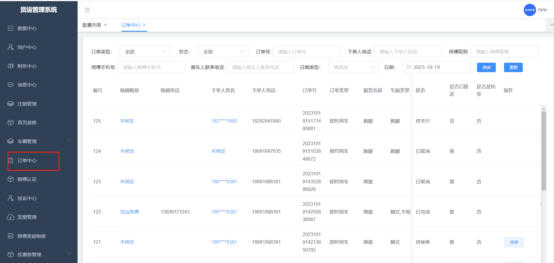
用户发起的所有订单都在该列表,也可对订单进行操作:指派等
奖励开关打开后,新注册的师傅可享受固定日期的奖励;
以下1表示每天完成的第一单都可额外得到原收益的80%
可设置成新人优惠券,注册后自动获取,也可赠送给某人;
也可给充值金额进行配置优惠券
用户的订单完成后,可以对订单进行投诉;
投诉可以在管理端进行审核,审核驳回后用户可继续发起,审核通过后,会根据投诉类型扣除师傅的保证金;
投诉通过后,如果师傅不认可,可在违规审核列表进行申诉
用户申请通过推广员后,他邀请的师傅完成的订单获得的佣金排行榜
分为用户端和师傅端,师傅端只展示师傅端的
用户或者师傅通过意见反馈提交的内容,管理端可查看
师傅接单并且完成后,他的收益的排行
可查看师傅的定位,给师傅进行派单等操作
用户端的佣金可发起提现,提现审核;
师傅端完成订单后,对收益进行提现,也需要进行审核;
也有对其他资金进行统计,比如保证金等
用户可对完成的订单发起开票申请,可一次性选择一个或者多个订单,线下开票成功后修改开票状态即可
订单完成后,用户可对订单进行评价
充值固定金额可得到设置的优惠劵;充值金额不支持提现
用户仅可对收益进行提现;
提现方式包括支付宝 和 微信,管理端可开启或者关闭
用户在首页进行下单,需要选择服务类型+车厢+车型类型,车型和车厢至少选择一个,有这个车辆的师傅就可以接单
用户下单被师傅接单后,设置时间内可以取消,取消订单会扣除设置的信用分;
如果超过时间,则不可以取消订单;
用户的信用分如果低于设置的分数,则无法下单
信用分低于设置的分值则不可进行接单;
管理端可对信用分进行修改
如果管理端配置了,新用户则可领取新人优惠券;也可通过充值获取优惠劵;
优惠券在有效期内使用,取消订单后,使用的优惠券会返还
用户发起的所有订单
订单完成后,可对订单进行评价
订单完成后,用户可对师傅进行投诉,在我的投诉页面可查看到用户所有的投诉记录,也可看到处理结果
用户端的操作文档,点开可以查看文章
用户对平台的意见反馈,提交后管理端可以查看
用户端小程序可以紧急报警,获取语音权限后,发送语音到后台,后台看到后会及时处理
用户可对已经完成的订单申请发票,提交后的订单不可再次发起申请
用户进行推广员申请,管理端审核成功后,推广申请 会展示成:我的团队,里面可以看到用户邀请的一二级用户,以及一二级带给该用户的佣金收益
师傅可直接注册,也可在用户端---我的---司机入驻跳转入驻
师傅如果要接单,必须进行实名认证,提交的实名认证信息在管理端可进行修改和审核,拒绝后需要重新认证
缴纳了保证金后,师傅可接单,如果被用户投诉,平台审核通过的话会扣除相应的保证金,期间也可缴纳保证金
师傅实名认证成功+缴纳了足额的保证金+上线后才能正常接单
接单前师傅需要添加车辆,每个师傅只能添加一辆车,可修改或者删除,只能接和订单相同类型车辆的订单,否则无法接单成功
登录后师傅可看到接单池订单,接单成功后可对订单进行操作,到达起点/开始装货/开始卸货/完成订单等;
开始运输前和完成订单前,师傅必须上传3张图片,
订单完成后,师傅可得到相关收益,收益可进行提现,提现方式有支付宝和微信,可在管理端进行开启或者关闭;
提交的提现申请在管理端进行操作,拒绝提现后提现金额和手续费会返还给师傅
用户投诉师傅后,平台会进行处理,当通过了用户的投诉申请后,师傅可进行申诉,如果不满意平台的申诉处理结果,可重复多次发起申诉
统计昨日/今日/本月的师傅的收益金额以及接单量
查看司机的帮助文章